PVC-C G41F-10V A típusú karimás membránszelep DN15-300 1/2"-12" ANSI szabvány

Ultra-tartós, kézi magas hőmérsékletű új PVC-C karimás membránszelep savas folyadékokhoz és vízellátáshoz, ANSI szabvány
Terméknév: PVC-C membránszelep
Szín: Szürke
Méret: DN15-DN300
Modell: G41F-10V
Alkalmazás: Általános
Anyaga: Műanyag
Közepes hőmérséklet: magas, közepes
Nyomás: Közepes
Tápellátás: Kézi
Közeg: Sav
Port mérete: DN15-DN300
Szerkezet: Membrán
Csatlakozás: Karimás vég
Tanúsítvány: ISO9001
Nyomásosztály: 1,0 Mpa (10 bar)
Szelep típusa: 1-utas
Tömítés: EPDM F46
Szállítási idő: 7 nap
Minimális rendelési mennyiség: 1 db

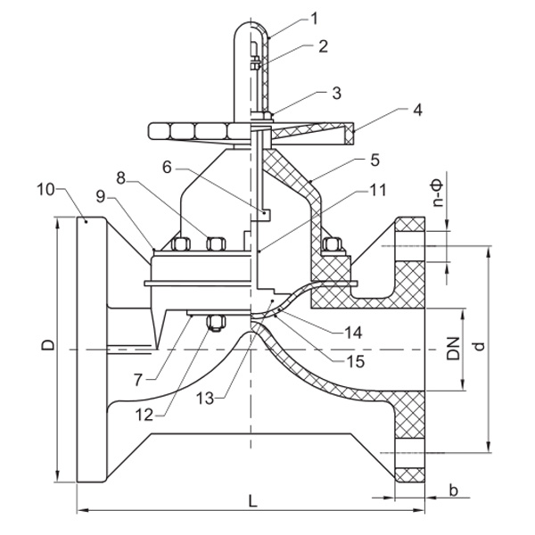
A termék szerkezeti jellemzői
1. A tömítőmembrán F46-ból vagy PFA-ból készül, hajlítási tűrőképessége ≥120 000 ciklus, korrózióállósága pedig megfelel az F4-nek.
2. A szelep csavaros emelőszerkezettel rendelkezik, alacsony működési nyomatékkal és kiváló stabilitással.

Alkalmazás-hőmérséklet-korlátozási lista

Anyag Közepes hőmérséklet℃ Anyag Közepes hőmérséklet℃
PVC-C -20 ℃ ~ 95 ℃ PVC-U -5 ℃ ~ 45 ℃
FRPP -20 ℃ ~ 120 ℃ PPH -20 ℃ ~ 110 ℃
PVDF 40 ℃ ~ 150 ℃
Alkatrész Anyag táblázat
Nem. Név Anyag Menny.
1 Fedezeti korlát AS 1
2 Csavar Acél 1
3 Rögzítő anya 65Mn 1
4 Kerék FRPP,FRPP,FRPP,PPH,FRPP 1
5 Motorháztető PVC-C,PVC-U,PVDF,PVDF,FRPP 1
6 Nut Réz 1
7 Platen Acél
8 Csavar Acél
9 Platen Acél
10 Test Stell
11 Sztem PVC-C,PVC-U,PVDF,PVDF,FRPP 1
12 Nut Cap PVC-C, PVC-U, PVDF, PPH, FRPP 1
13 Disc PVDF, vas 1
14 Flim EPDM 1
15 Membrán F46/PFA/PTFE 1

Dimenziólista

Specifikáció d
(mm)
D
(mm)
L
(mm)
b
(mm)
n-Ф
(mm)
1/2" (15) 60 95 125 14 4-Φ16
3/4" (20) 70 115 135 18 4-Φ16
1" (25) 79 115 145 18 4-Φ16
1¼" (32) 89 135 160 18 4-Φ18
1½" (40) 98 145 180 20 4-Φ19
2" (50) 121 160 210 22 4-Φ19
2½" (65) 140 180 250 24 4-Φ19
3" (80) 152 195 300 24 8-Φ19
4" (100) 191 229 350 26 8-Φ19
5" (125) 216 250 400 30 8-Φ22
6" (150) 241 280 455 30 8-Φ23
8" (200) 299 343 570 40 8-Φ23
10" (250) 362 406 680 40 12-Φ23

Üzenet Visszajelzés
Rólunk
Kaixin Pipeline Technologies Co., Ltd.
1999-ben alapították, Kaixin Pipeline Technologies Co., Ltd. egy high-tech vállalkozás, amely integrálja a kutatás-fejlesztést, a gyártást, az értékesítést és a szolgáltatást. A vállalat számos rangos minősítéssel rendelkezik, beleértve a nemzeti csúcstechnológiai vállalatot, a „kis óriás” specializált és kifinomult kkv-t, a nemzeti termékbajnokot (termesztés), a tartományi technológiai alapú kkv-t, a ningboi specializált és kifinomult kkv-t, a ningboi termékbajnokot (termesztés), a Ningbo körzeti kutatási és fejlesztési központot, a Green-Lepe és a Valve Polymer-Pivelet. Ningbo négycsillagos Management Innovation Enterprise és Enterprise Data Management Capability 2. érettségi szint.
Szakterületünk nem fém korrózióálló termékek fejlesztése, gyártása és szállítása vegyi alkalmazásokhoz, beleértve a műanyag szelepeket, csöveket, csőszerelvényeket és korrózióálló szivattyúkat. Termékportfóliónk olyan anyagokat ölel fel, mint a PVC-C, PVC-U, PVDF, PPH és FRPP, típusok és specifikációk széles választékával. Nevezetesen, pillangószelepeink elérhetik a DN1000-es átmérőt, míg a csövek és szerelvényeink a DN800-as átmérőig terjednek, ezzel megszüntetve a piaci hiányosságokat és megőrizve versenyelőnyünket az iparágban.
A „Technológia vezérelte, lépést tartva az idővel” elve alapján a Kaixin közel 10 millió RMB-t különít el évente K+F-re. A kiváló termékminőséget szabványosított automatizált gyártás és az importált alapanyagok szigorú beszerzése révén biztosítjuk. Nemzetközi fejlesztési stratégiánkhoz igazodva folyamatosan figyeljük a globális piaci trendeket, és digitális csatornákat használunk, hogy kiváló minőségű „Made in China” termékeket hozzunk az ügyfelekhez világszerte.
Ningbo • Fenghua K+F és termelési bázis
A Kaixin Ultra-Pure Pipe Technology (Ningbo) Co., Ltd. összesen 200 millió RMB befektetéssel új anyaglaboratóriumot hozott létre egyetemekkel és kutatóintézetekkel együttműködve, modern gyártóbázist épített ki, és 8 teljesen automatizált gyártósort telepített módosított műanyagok és 8 polimer anyagok számára. A létesítmény az új módosított műanyagok és polimer anyagok kutatás-fejlesztésére, gyártására és alkalmazására szolgál. A Kaixin emellett elkötelezett amellett, hogy a legkiválóbb tehetségeket tudományágakban vonzza, folyamatosan ösztönözze a termékinnovációt és a márkafejlesztést, azzal a céllal, hogy világszerte elismert vezető szerepet töltsön be a polimer szelepek, csövek és szerelvények kutatás-fejlesztésében és gyártásában.
Becsületi oklevél
  • honor
  • honor
  • honor
  • honor
  • honor
  • honor
  • honor
  • honor
  • honor
Hírek