PVC-C J41F-10V karima típusú gömbszelep DN15-150 1/2"-6" ANSI szabvány

PVC-C karimás gömbszelep egyenesen átmenő, magas hőmérsékletű DN15–DN150 vegyi és ipari műanyag szelep ANSI szabvány
Modell: J41F-10V
Anyaga: Műanyag
Csatlakozás típusa: karimás
Üzemmód: Kézi
Névleges nyomás: 10 kg
Áramlási csatorna: Egyenes átmenő típus
Szerkezet: Fix Globe Valve
Típus: Fix gömbszelep
Funkció: Bypass Valve
Hőmérséklet: Magas hőmérséklet
Alkalmazás: Ipari felhasználás, vízkezelés
Márka: KXPV
Leírás: DN15–DN150
Származási hely: Zhejiang, Ningbo

Nyomásosztály: 1,0 Mpa (10 bar) $ $

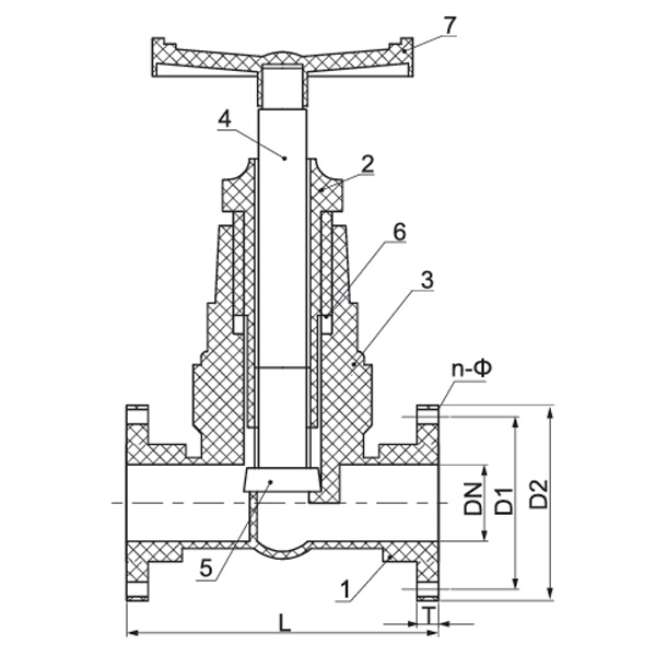
A termék szerkezeti jellemzői

1.A műanyag szelepház kiváló korrózióállóságot és kopásállóságot kínál.
2. Kompakt kialakítás, költséghatékony és nagy teljesítményű.
3. Szelepek állnak rendelkezésre az áramlás beállításához.

Alkalmazás-hőmérséklet-korlátozási lista

Anyag Közepes hőmérséklet℃ Anyag Közepes hőmérséklet℃
PVC-C -20 ℃ ~ 95 ℃ PVC-U -5 ℃ ~ 45 ℃
FRPP -20 ℃ ~ 120 ℃ PPH -20 ℃ ~ 110 ℃
PVDF 40 ℃ ~ 150 ℃

Alkatrész Anyag táblázat

Nem. Név Anyag Menny.
PVC-C PVC-U PVDF PPH FRPP
1 Test PVC-C PVC-U PVDF PPH FRPP 1
2 Zárblokk PVC-C PVC-U PVDF PPH FRPP 1
3 Csatlakozók PVC-C PVC-U PVDF PPH FRPP 1
4 Sztem PVC-C PVC-U PVDF PPH FRPP 1
5 Tömítő fedél PVC-C PVC-U PVDF PPH FRPP 1
6 Sten pecsét PTFE 1
7 Kerék Ötvözet anyag 1

Nem. Név Anyag Menny.
PVC-C PVC-U PVDF PPH FRPP
1 Kerék Ötvözet anyag 1
2 Tömítő anya PVC-C PVC-U PVDF PPH FRPP 1
3 Sten pecsét PTFE 1
4 Csavar Acél 8
5 Sztem (PVC-C/PVC-U/PVDF/PPH/FRPP) AcélAcél 1
6 Kupakolás PVC-C PVC-U PVDF PPH FRPP 1
7 Test PVC-C PVC-U PVDF PPH FRPP 1
8 Tömítő gumi FPM EPDM FPM EPDM 1
9 Motorháztető PVC-C PVC-U PVDF PPH FRPP 1



Nem. Név Anyag Menny.
PVC-C PVC-U PVDF PPH FRPP
1 Kerék Ötvözet anyag 1
2 Tömítő anya PVC-C PVC-U PVDF PPH FRPP 1
3 Suppot (PVC-C/PVC-U/PVDF/PPH/FRPP) AcélAcél 1
4 Csavar Acél 8
5 Sztem (PVC-C/PVC-U/PVDF/PPH/FRPP) AcélAcél 1
6 Kupakolás PVC-C PVC-U PVDF PPH FRPP 1
7 Test PVC-C PVC-U PVDF PPH FRPP 1
8 Tömítő gumi FPM EPDM FPM EPDM 1
9 Motorháztető PVC-C PVC-U PVDF PPH FRPP 1

Dimenziólista

Specifikáció D1 (mm) D2 (mm) L(mm) T(mm) n-Φ(mm)
1/2" (15) 60 105 155 18 4-Φ14
3/4" (20) 70 105 155 18 4-Φ14
1" (25) 79 115 160 20 4-Φ14
1¼" (32) 89 135 185 20 4-Φ18
1½" (40) 98 150 200 20 4-Φ18

Specifikáció D1 (mm) D2 (mm) L(mm) T(mm) n-Φ(mm)
2" (50) 121 165 230 20 4-Φ18

Specifikáció D1 (mm) D2 (mm) L(mm) T(mm) n-Φ(mm)
1/2" (15) 60 105 155 18 4-Φ14
3/4" (20) 70 105 155 18 4-Φ14
1" (25) 79 115 160 20 4-Φ14
1¼" (32) 89 135 185 20 4-Φ18
1½" (40) 98 150 200 20 4-Φ18
Üzenet Visszajelzés
Rólunk
Kaixin Pipeline Technologies Co., Ltd.
1999-ben alapították, Kaixin Pipeline Technologies Co., Ltd. egy high-tech vállalkozás, amely integrálja a kutatás-fejlesztést, a gyártást, az értékesítést és a szolgáltatást. A vállalat számos rangos minősítéssel rendelkezik, beleértve a nemzeti csúcstechnológiai vállalatot, a „kis óriás” specializált és kifinomult kkv-t, a nemzeti termékbajnokot (termesztés), a tartományi technológiai alapú kkv-t, a ningboi specializált és kifinomult kkv-t, a ningboi termékbajnokot (termesztés), a Ningbo körzeti kutatási és fejlesztési központot, a Green-Lepe és a Valve Polymer-Pivelet. Ningbo négycsillagos Management Innovation Enterprise és Enterprise Data Management Capability 2. érettségi szint.
Szakterületünk nem fém korrózióálló termékek fejlesztése, gyártása és szállítása vegyi alkalmazásokhoz, beleértve a műanyag szelepeket, csöveket, csőszerelvényeket és korrózióálló szivattyúkat. Termékportfóliónk olyan anyagokat ölel fel, mint a PVC-C, PVC-U, PVDF, PPH és FRPP, típusok és specifikációk széles választékával. Nevezetesen, pillangószelepeink elérhetik a DN1000-es átmérőt, míg a csövek és szerelvényeink a DN800-as átmérőig terjednek, ezzel megszüntetve a piaci hiányosságokat és megőrizve versenyelőnyünket az iparágban.
A „Technológia vezérelte, lépést tartva az idővel” elve alapján a Kaixin közel 10 millió RMB-t különít el évente K+F-re. A kiváló termékminőséget szabványosított automatizált gyártás és az importált alapanyagok szigorú beszerzése révén biztosítjuk. Nemzetközi fejlesztési stratégiánkhoz igazodva folyamatosan figyeljük a globális piaci trendeket, és digitális csatornákat használunk, hogy kiváló minőségű „Made in China” termékeket hozzunk az ügyfelekhez világszerte.
Ningbo • Fenghua K+F és termelési bázis
A Kaixin Ultra-Pure Pipe Technology (Ningbo) Co., Ltd. összesen 200 millió RMB befektetéssel új anyaglaboratóriumot hozott létre egyetemekkel és kutatóintézetekkel együttműködve, modern gyártóbázist épített ki, és 8 teljesen automatizált gyártósort telepített módosított műanyagok és 8 polimer anyagok számára. A létesítmény az új módosított műanyagok és polimer anyagok kutatás-fejlesztésére, gyártására és alkalmazására szolgál. A Kaixin emellett elkötelezett amellett, hogy a legkiválóbb tehetségeket tudományágakban vonzza, folyamatosan ösztönözze a termékinnovációt és a márkafejlesztést, azzal a céllal, hogy világszerte elismert vezető szerepet töltsön be a polimer szelepek, csövek és szerelvények kutatás-fejlesztésében és gyártásában.
Becsületi oklevél
  • honor
  • honor
  • honor
  • honor
  • honor
  • honor
  • honor
  • honor
  • honor
Hírek